Болты откидные DIN 444
Болты откидные DIN 444. Аналоги стандартов: ГОСТ 3033-79, ГОСТ 14724-69.
DIN 444 активно применяются в машиностроении для создания легкоразборных соединений (например, совместно с гайками барашковыми), в станочных приспособлениях, а также в строительстве совместно с анкерами с внутренней резьбой для монтажа различных конструкций к стенам и перекрытию.
- Диаметр резьбы от М5 до М30, длина от 20 до 300 мм.
- Метрическая резьба с крупным шагом.
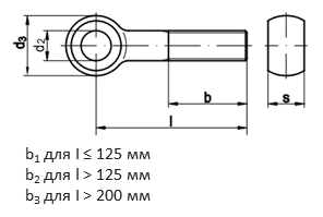
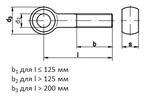
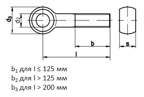
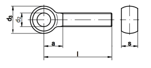
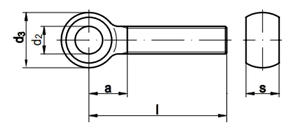
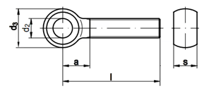
- Длина болта откидного DIN 444 измеряется от центра отверстия.
- Класс прочности для стальных болтов: 4.6.
- Классы прочности для болтов из нержавеющих и коррозионно-стойких сталей: А2-50, А4-70.
- Варианты материалов: сталь, сталь коррозионностойкая, латунь.
- Варианты покрытий: чёрный / без покрытия, гальваническое цинкование.
Размерный ряд болтов DIN 444
Тип B — неполная резьба:

| Размеры | M5 | M6 | M8 | M10 | M12 |
|---|---|---|---|---|---|
| d2 | 5 | 6 | 8 | 10 | 12 |
| d3 | 12 | 14 | 18 | 20 | 25 |
| s | 6 | 7 | 9 | 12 | 14 |
| a | 11 | 14 | 16 | 18 | 23 |
| b1 | 16 | 18 | 22 | 26 | 30 |
| b2 | – | – | 28 | 32 | 36 |
| b3 | – | – | – | – | 49 |
Тип BL — полная резьба:

| Размеры | M16 | M20 | M24 | M30 |
|---|---|---|---|---|
| d2 | 16 | 18 | 22 | 27/28 |
| d3 | 32 | 40 | 45 | 55 |
| s | 17 | 22 | 25 | 30 |
| a | 27 | 32 | 40 | 46 |
| b1 | 38 | 46 | 54 | 66 |
| b2 | 44 | 52 | 60 | 72 |
| b3 | 57 | 65 | 73 | 85 |
Если вы хотите купить болты откидные DIN 444 , вы можете:
Позвонить:

