x
≡ меню

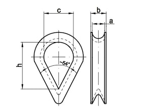
Коуш для троса DIN 6899

Коуш для троса DIN 6899

DIN 6899 коуш оцинкованный стальной для троса, каната. Коуш вставляется в петлю троса, каната для предохранения от истирания и излома. Коуши DIN 6899 могут быть установлены как на стальные, так и на растительные и синтетические канаты. Размер коуша определяется диаметром троса от 3 до 34 мм.

Материалы:

  • Сталь с покрытием: гальваническая оцинковка, окраска.

Таблица размеров и характеристик стальных оцинкованных коушей DIN 6899 для тросов, канатов



производитель
REYHER


Если вы хотите купить коуш для троса DIN 6899 , вы можете:



Ещё из раздела такелаж

  • производитель: REYHER
Зажим для стального троса, каната с двумя шестигранными гайками, легкое исполнение. Тросовый (канатный) зажим применяется для создания петель на концах тросов и для соединения стальных тросов, канатов между собой. Не предназначен для грузоподъёмных ...
  • производитель: REYHER
Карабин пожарный с пружинной защелкой DIN 5299 Применяется для быстрого соединения цепей, тросов, канатов между собой или к местам крепления. Размер карабина определяется по диаметру поперечного сечения - S. Материал: Сталь, покрытие - цинк; Сталь ...
  • производитель: REYHER
Скоба такелажная прямая оцинкованная DIN 82101 применяется для крепления тросов, канатов, цепей. Тип А - без замка, тип С - со шплинтовым замком. Рабочая нагрузка на такелажные скобы от 0.1 до 40 т. Материалы: Углеродистая сталь с покрытием: горячая ...
© 2025 КрепСАН
223037 а/я 15 РБ Минский р-н, г. Заславль
+375 (17) 5-112-555
+375 (44) 778-41-81
                          
krepsan.by

Сайт работает на платформе Nestorclub.com